UNIVERSITY CLINIC FOR NEUROSURGERY

Traumatic Brain Injury

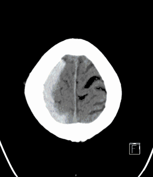
Injuries to the head and brain are primarily caused by direct force.

Depending on the severity of the injury, potentially life-threatening situations may arise from increased pressure within the cranial cavity, requiring surgery as a last resort in certain circumstances. In other cases, immediate surgery may be required first (impression fractures, epidural and subdural hemorrhages).

A special type of traumatic brain injury is skull base injury. In this case, fractures occur in the deep portions of the skull. Important structures such as vessels, spinal cord, and cranial nerves run through the base of the skull, which can lead to severe neurological dysfunction in the event of an injury.

Last Modification: 12.07.2023 - Contact Person:

Sie können eine Nachricht versenden an: Webmaster
Sicherheitsabfrage:
Captcha
 
Lösung: